As from PLE version 4.5.0 mitre bends can be configured. In table POLYDIF two extra columns define the shape of the mitre bend.

Column 'ETYP' is extended with a 'Mitre bend' option. Column 'N-KINK' defines the number of kinks and 'L-SEGM' the distance between the kinks.
When the Analysis type is set to 'General' the BENDFAC parameters K, SIX and SIF are calculated according to the TGSL-1986. For the other analysis types the parameters are calculated according to NEN 3650-1:2020. The TGSL method has proven to give more accurate results than the NEN method.
In case of single kink mitre bends, the bend radius (or segment length) should be entered as described in the POLYDIF data description page.
A couple of rules apply when calculating mitre bends:

Parameter |
General |
NEN |
Angle 2α |
≤ 25° |
≤ 15° |
C (crotch) |
≥ 1Do |
|
R (radius) |
≥ 2.5 r |
|
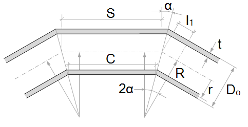
The data entered in POLYDIF on top of this page will result in the configuration shown below:

H20012 (last modified: Sep 21, 2025)